乐赢体赢十大真人网

products

产品中心

产品类别

Category

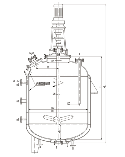
搪玻璃闭式反应罐

扫一扫

浏览我司移动平台

江苏鑫科天建化工设备制造有限公司 版权所有(C)2024 网络支持 著作权声明 网站地图